
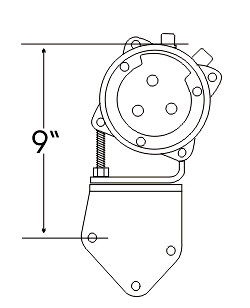
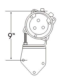
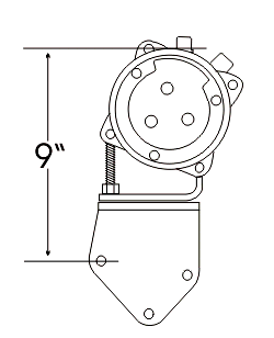
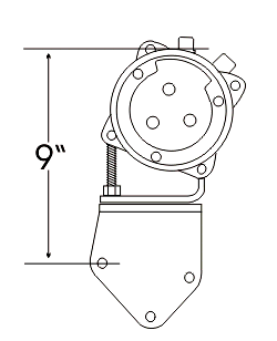
Bracket will fit all Small Block Ford 289, 302 and 351W engines. Mounts on the driver side of engine. Make sure you have sufficient hood clearance (will work on Mustangs). The bracket can be adjusted to move forward and backward for belt alignment. The bracket is designed to mount a Sanden SD508 / SD5H14 or a SD709 / SD7H15 compressor. All mounting hardware included to add a compressor to your small block Ford Engine.
Metal finish, needs to be painted
Picture courtesy of Alan Grove components
Weight: 7.0 lb